下載app免費領取會員
剖面標記若要可見,裁剪區域和視圖范圍必須相交。
如果剖面視圖的裁剪區域與視圖范圍相交,則可在平面視圖、立面視圖和其他剖面視圖中看到剖面標記。 例如,如果您重新調整剖面視圖的裁剪區域,使其不再與平面視圖的視圖范圍相交,則剖面符號就不會顯示在平面視圖中。
提示: 剖面實例參數“當比例粗略度超過下列值時隱藏”設置了一個比例,剖面將根據此比例在其他視圖中顯示或隱藏。 例如,剖面標記可以在比例粗略度超過 1/4"=1'0" 時隱藏。
即使剖面符號的裁剪邊界處于關閉狀態,它們仍然可以顯示在立面視圖中。 如果剖面線與高程剪裁平面相交,則剖面將顯示在立面視圖中。 要查看和修改高程剪裁平面的位置,請在平面視圖中選擇高程符號的箭頭,然后剪裁平面上就會顯示拖曳控制點。 如果您重新調整剪裁平面,使其不再與剖面線相交,則剖面就不會顯示在立面視圖中。
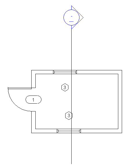
提高剖面視圖的精度。
創建剖面視圖時,Revit 會設置默認的視圖深度和寬度。通過選擇剖面并調整其裁剪區域的大小,可以更精確地控制剖面視圖的顯示。
下圖顯示的是一個剖面及其裁剪區域。

根據需要拖曳裁剪區域上的控制柄,以調整剖面視圖的寬度和深度。下圖顯示的是與上圖相同的剖面,但是裁剪區域已經過調整。

通過創建新的剖面標頭族,在項目中包含多個符號。
剖面標頭族用于創建顯示在剖面線端部的符號。 Revit 會指定默認符號,但您可能需要使用自己的符號定義不同的剖面。 通過為剖面標頭指定族,可使項目中包含多個符號。

當創建剖面標頭族時,應定義剖面標頭符號。 所創建的剖面標頭符號應指示查看方向。 可以通過繪制箭頭來設置查看方向。 如有必要,該符號還應包括雙箭頭鏡像控制柄,以便在必要時翻轉查看方向。
提示: 兩個垂直參照平面的交點表示符號的原點。 原點是符號附加到剖面線上的點。繪制相應的線。
可以為此符號設置兩個參數:“繪圖編號”和“圖紙編號”。 可以通過放置標記文字來設置它們。 “詳圖編號”是圖紙中視圖的編號。 “圖紙編號”是圖紙的編號。如果將這些參數添加到符號中,則將剖面視圖添加到項目中時,這些參數會自動填寫。

本文版權歸腿腿教學網及原創作者所有,未經授權,謝絕轉載。
上一篇:Revit技巧 | Revit官方教程丨Revit中如何創建參照剖面
下一篇:CAD教程 | CAD軟件繪圖:插入下載的電氣符號的方法
推薦專題